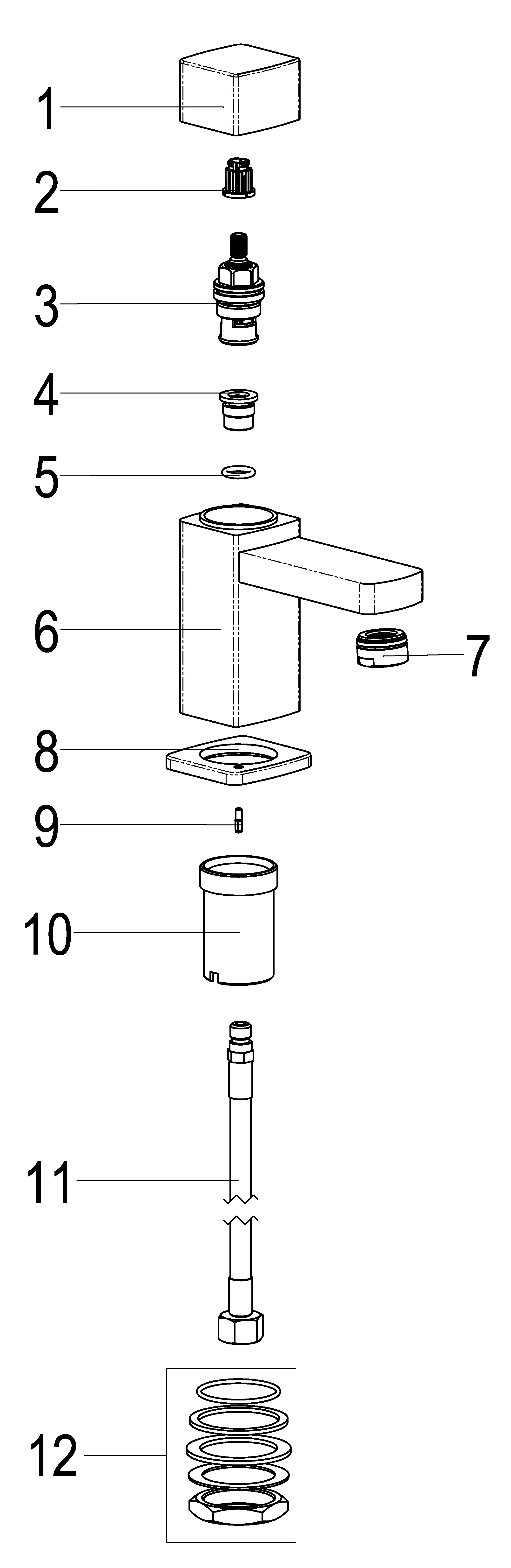
Item Properties
- Z057000-00010
- Heinrich Schulte
- Pillar tap
- alpha-line_500
- handle metal
- chrome
- reach 95 mm
- height to aerator 70 mm
- maximum height 130 mm
- materials in accordance with German Drinking Water Regulations and FEA
- flexible hoses 1/2" DIN DVGW
- aerator 7 l/min
- with shaft screw connection










